Power supply B750
New development
Does it make a difference in terms of sound?
Well, due to the somewhat strange wiring of the power supply, our hands are tied when it comes to optimization. This was also the problem in the development of the toroidal transformer of the Revox B750. We would have liked to have optimized the windings in relation to
optimized for losses.
However, we at Premium-Hifi have made a few optimizations to the new circuit board. The power supply is designed with audiophile standards in mind. The AC input voltages each receive a suppression capacitor, and the rectifiers each receive four additional capacitors in parallel with the diodes. The charging filter capacitors each receive a 10 µF bypass capacitor; there are no additional electrolytic capacitors. The voltage regulators are lower-noise. The conductor tracks are considerably shorter, now 70 µm thick, instead of the standard 35 µm, and very wide!
Basics
radial and axial capacitors
WWhen we see that the axial electrolytic capacitors are replaced by the cheapest radial electrolytic capacitors with even longer connecting wires, these long connecting wires are then also pieced together multiple times...
To put it mildly, it makes us nauseous! But not with Revox devices!
That's not possible!
Not only did they put down radial electrolytic capacitors, but they also cut the connecting wires, which were far too long, several times! Not with a Revox device!
Especially since axial capacitors are readily available everywhere, and we have Premium-Hifi manufacture them to our specifications! We don't understand why such a mess would be made on a Revox B750 amplifier or other Revox Studer devices for a few euros. This is unacceptable for a first-class, high-quality amplifier.
Our new power supply board is designed for radial, vertical capacitors! This ensures short circuit paths and short connections to the capacitors, eliminating tangled wires.
the technology
LM317 and LM337
Voltage regulator
The well-known voltage regulators we use aren't modern. However, we wanted to avoid exotics. Who knows how long these exotics will be produced, and availability is also a question..There is neither an LDO (Low Drop Out) at the very high input voltage nor 3, 5 or even7 amps required!
Rush
The output noise of the voltage regulators used is 0.003% of the output voltage, just as good as the
LT 1085 and considerably better than the fixed voltage regulators of the 78xx or 79xx series.We
We have also been using the LM 317 and LM 337 regulators in our power supply repair kits since 2007.
old rules
The 78MG U1, 79MG U1, and 7920 have been discontinued for a long time, and the 7820 is also becoming scarce. This is one of the reasons why we at Premium-Hifi would like to offer the new power supply board for all Revox B750 integrated amplifiers and use controls that will be available for a long time to come.
The cooling
Because use space correctly!
We've significantly increased the effective cooling surface and used an additional heat sink. This doesn't offer any sonic benefits, but a cooler environment protects the surrounding components from premature aging. The electrolytic capacitors, in particular, will thank you! As mentioned, we can't prevent the enormous power dissipation of the amplifier's power supply.
Advantages of the new cooling system
circuit board
The circuit board is considerably smaller, which is more cost-effective and creates space for better cooling. Nevertheless, everything fits perfectly on the board, and the traces are also much shorter!
heat sink
We use a 3 mm thick cooling bracket for better heat dissipation. Installing an additional heatsink with a heat dissipation rating of approximately 3.5 K/W ensures even better heat dissipation. This allows us to make optimal use of the available space in the amplifier!
Cooling performance
The temperature of the original Revox power supply board is 62°C. With our new power supply board, the maximum temperature is only 52°C, and with our new power supply board with heat sink, the maximum temperature is only 46°C.
That doesn't sound like much, but it's enormous.
The components, especially the capacitors, will thank you!
Which version?
MK I or MK II
Version ab S-Nr. 8501
Starting with serial number 8501, both power supplies were combined onto a single circuit board. Additionally, the voltage was increased from 40 V to 48 V, and the mounting was also modified. Our new power supply board fits both the 40 V version up to serial number 8500 and the 48 V version starting with serial number 8501. The mounting is also designed for both versions. Simply set the jumpers to the 40 V or 48 V position.
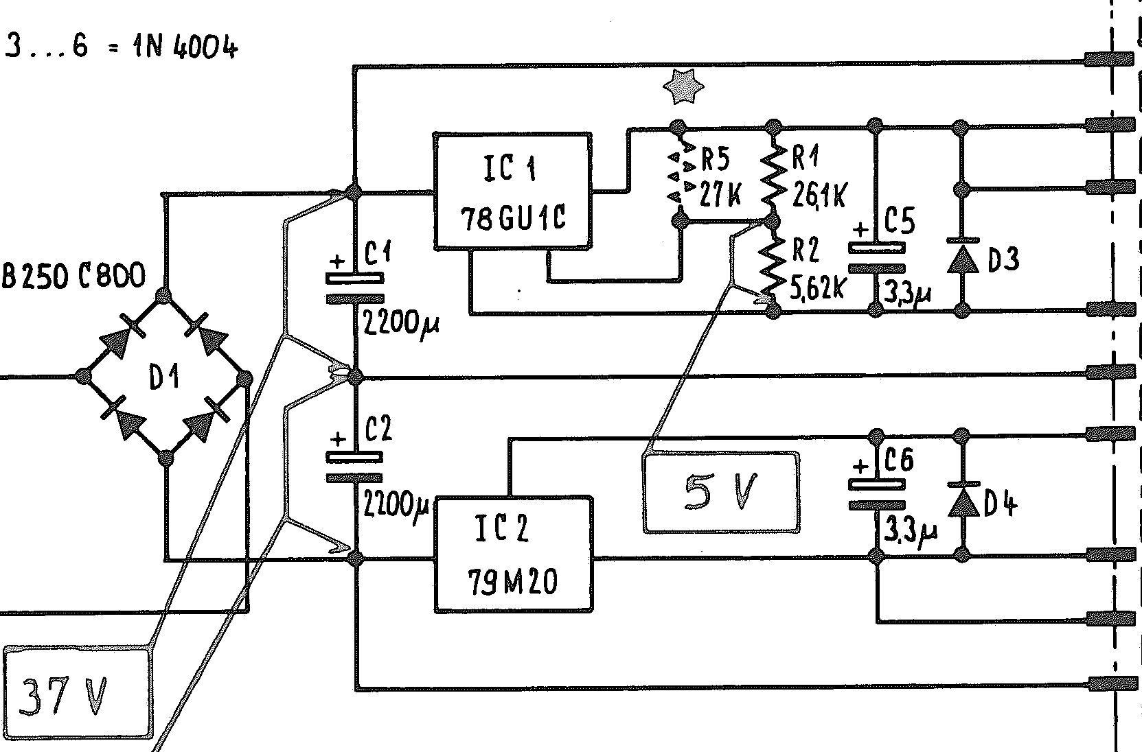
Circuit diagram
Why did Revox take this path?
Why the 20 V via a negative regulator and the -20 V via a positive regulator? It's a good thing that the /- 40 V and /- 48 V weren't taken from the device's ground, as the regulators can only handle a maximum input voltage of 40 V. If these regulators had been connected to the device's ground, the input voltage would have been well over 70 V. The 37 V via the capacitors is already borderline!
for all Revox B750
The new power supply board fits all Revox B750 amplifiers and can be configured accordingly on-site. You simply need to move the two jumpers upwards toward the heatsink for the 48 V version (as shown in the photo) or both jumpers downwards for the 40 V version. The mounting bracket also fits both versions of the amplifier. The cooling brackets are now only available in black and always with a large 3.5 K/W heatsink.
Curiosities
DO NOT
With the best will in the world! How can you possibly reuse the old regulators for a new circuit design?Leaded components - okay, electrolytic capacitors - okay, but the UA79GU or UA78GU, not even for a try! If you don't understand the technology or the way the engineers at Revox think... ...it's not always easy! Then the description of the curious circuit mentions something about improved shielding! Where, please, is the shielding?
45 years of standstill
What a waste of space! We're using the space for significantly better cooling.We wanted to replace the power supply board years ago. However, we still had circuit boards from repair stock, so there was no need to manufacture the new one. However, we can't finish any more Revox B750s because we don't have the power supply!
Quality power supply
for all Revox B750 you can find in our shop













